欢迎点击下方👇🏻 关注 我 ,记得 星标 哟~
文末有惊喜** ~**
大家好,我是汤师爷。在编程工作中,我们经常要画时序图和流程图,特别是写技术文档。
虽然我们一般喜欢用像Visio这样的画图工具,但有时用编程画图可以更高效率,因为我们对编程语言很熟悉。
今天,我要给你介绍一个叫ChatGPT+PlantUML的画图方法,它们组合起来,可以让画图效率提高几十倍。不用AI的程序员,真的快要被淘汰了。
拿订单履约的业务流程图举例,我花了10多分钟才完成,而ChatGPT+PlantUML绘图过程只用了10秒钟,基本可以达到同样的水平,通过ChatGPT可以显著提高画流程图的效率。
PlantUML是一款开源的UML图绘制工具,支持通过文本来生成图形,使用起来非常高效。可以支持时序图、类图、对象图、活动图、思维导图等图形的绘制。
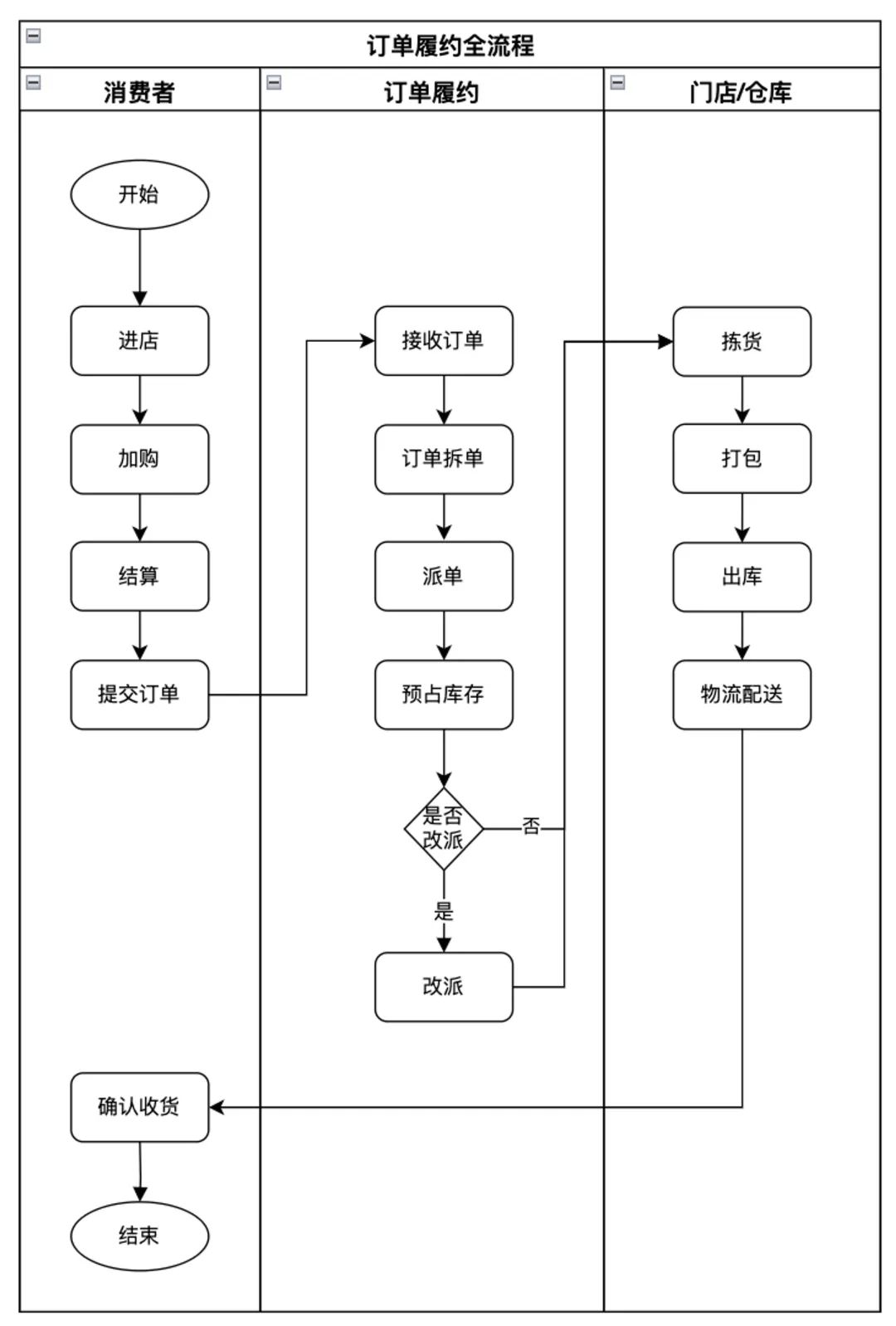
订单履约是电商和零售业务中的一个重要环节,它涉及到从客户下单到商品交付的整个过程。
此过程涉及多个环节,包括消费者在销售平台下单、系统接收订单、预占库存,以及仓库/门店执行拣货、发货等环节。
我们以订单履约业务流程为例,让ChatGPT帮我们生成业务流程的PlantUML代码。
向ChatGPT发送以下请求:
请使用PlantUML语言绘制订单履约的业务流程。业务流程如下:
- • 接收订单: 当客户在销售平台下单后,第一步是接收订单,它涉及到订单信息的收集和确认,包括客户详情、商品信息、配送地址等。
- • 订单拆单: 此环节的目的是将复杂的订单拆解为更易管理的子订单,根据商品的仓储位置或特定的履约要求进行拆分。
- • 派单: 这一步骤基于多种因素进行决策,包括商品的实际库存位置、配送地址的距离、以及履约能力,分配给合适的仓库或门店。
- • 预占库存: 为了确保订单中的商品能够被及时送达,预占库存防止在订单处理期间商品被其他订单占用,导致无法履约的情况发生。
- • 改派: 在履约过程中,可能会因为库存不足、配送问题或其他突发情况,需要重新分配订单到另一个履约中心。
- • 拣货: 是指根据订单信息从库存中挑选出具体商品的过程。这个环节要求高度的准确性和效率,错误拣选会直接影响到客户满意度。
- • 打包: 拣选完成后,商品会被包装好,确保在运输过程中的安全和完整。打包过程还包括贴上运输标签和必要的配送信息,为商品的顺利配送做好准备。
- • 出库: 打包好的商品接下来会被记录为出库状态,这意味着商品正式发货出库,离开门店/仓库。
- • 物流配送: 商品出库后,将通过快递或同城配进行配送。这一阶段,物流公司或配送公司负责将商品从门店/仓库运输到客户指定的收货地址。
- • 确认收货: 最后,当客户收到商品并确认无误后,订单履约流程完结。客户确认收货通常在线上平台上确认来完成。这一环节也是记录履约时效、收集客户反馈和提升服务质量的重要机会。
ChatGPT回答如下:
以下是使用PlantUML语言绘制的订单履约业务流程代码。这段代码描述了从接收订单开始,到确认收货结束的整个过程。你可以将此代码复制并在支持PlantUML的工具或在线编辑器中进行渲染,以生成流程图。
@startuml
!theme plain
title 订单履约流程图
|客户|
start
:下单;
|订单履约系统|
:接收订单;
note right: 收集订单信息\n客户详情、商品信息、配送地址等
:订单拆单;
note right: 根据仓储位置或\n特定履约要求拆分
:派单;
note right: 基于库存位置、配送地址距离\n和履约能力进行决策
:预占库存;
note right: 防止商品在处理期间被占用
if (需要改派?) then (是)
:改派;
note right: 因库存不足、配送问题等\n重新分配履约中心
else (否)
endif
|仓库/门店|
:拣货;
note right: 根据订单信息挑选商品
:打包;
note right: 包装商品,贴上运输标签
:出库;
note right: 商品发货出库
:物流配送;
note right: 商品从门店/仓库\n运输到客户指定地址
|客户|
:确认收货;
note right: 在线上平台确认收货\n完成订单履约流程
stop
@enduml
接下来,我们要使用drawio神器,绘制流程图。登录https://app.diagrams.net/,点击➕,选择高级→PlantUML。
将上文中的PlantUML代码,贴入文本框,点击插入,就能生成流程图。
我们可以看到,ChatGPT绘制的流程图质量很高,对业务流程有深入的理解。
通过不断与ChatGPT的交流和调整,我们得到了一个完整的订单履约流程图,清楚地展示了从接收订单到确认收货的每个步骤。
下面这张流程图,我花了10分钟才完成,而ChatGPT绘图过程只用了10秒钟,基本可以达到同样的水平,可见ChatGPT能显著提高画UML图的效率。
大家好,我是 汤师爷 ,南京大学硕士,先后就职于华为、阿里,自己办过公司,也当过创业公司CTO,现任某大厂资深架构师。白天搬砖,晚上写写自媒体文章,偶尔混下互联网大会讲师。
相逢即是缘 ,欢迎扫下方👇🏻二维码 加我微信 ,备注【 架构资料 】,免费领取学习资料 ,含最全架构学习路线图,海量大厂架构案例 。
往期精选 文章推荐:
欢迎把文章 分享 至朋友圈
点击 在看 是对我最大的支持
↘↘↘
