向AI转型的程序员都关注了这个号 👇👇👇
机器学习AI算法工程 公众号:datayx
在深度学习项目中,寻找数据花费了相当多的时间。但在很多实际的项目中,我们难以找到充足的数据来完成任务。为了要保证完美地完成项目,有两件事情需要做好:
1、寻找更多的数据;
2、数据增强。
本篇主要描述数据增强。
imgaug是一个封装好的用来进行图像augmentation的python库,这个库功能全面,且有丰富的文档支持,能满足我们大多数的数据增强的需求。 支持关键点(keypoint)和bounding box一起变换。 它可以将你的输入图片转换成很多新的、更大数据量的轻微变动的图片,这对于数量比较小的数据集来说简直是福音!!
常见的变换比如 滤波,扰动,平移,翻转,缩放,裁剪,锐化,噪声,灰度,亮度,对比度等等
项目主页:
https://github.com/aleju/imgaug
快速开始(官方文档)
https://imgaug.readthedocs.io/en/latest/source/examples\_basics.html
API介绍
https://imgaug.readthedocs.io/en/latest/source/api.html
Keras和OpenCv数据增强API的封装版
https://github.com/BlackChengX/ImageDataGenerator
https://blog.csdn.net/u012897374/article/details/80142744#commentBox
如下:
这是比较base的转换,像加入噪声、裁切等基本常用的数据增强方法
下面是一些比较特殊的:
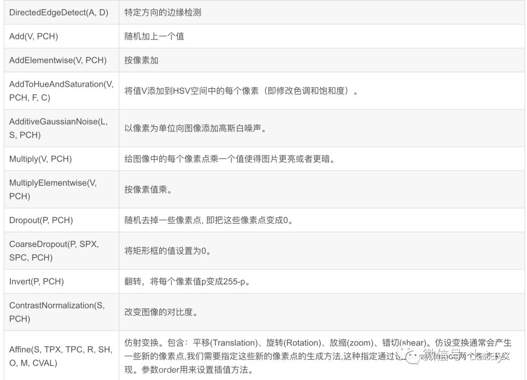
在API里边,我们可以看到有很多函数可以实现数据增强,接下来对这些函数的功能进行介绍
阅读过本文的人还看了以下文章:
《深度学习入门:基于Python的理论与实现》高清中文PDF+源码
2019最新《PyTorch自然语言处理》英、中文版PDF+源码
《21个项目玩转深度学习:基于TensorFlow的实践详解》完整版PDF+附书代码
PyTorch深度学习快速实战入门《pytorch-handbook》
【下载】豆瓣评分8.1,《机器学习实战:基于Scikit-Learn和TensorFlow》
李沐大神开源《动手学深度学习》,加州伯克利深度学习(2019春)教材
【Keras】完整实现‘交通标志’分类、‘票据’分类两个项目,让你掌握深度学习图像分类
如何利用全新的决策树集成级联结构gcForest做特征工程并打分?
Machine Learning Yearning 中文翻译稿
斯坦福CS230官方指南:CNN、RNN及使用技巧速查(打印收藏)
中科院Kaggle全球文本匹配竞赛华人第1名团队-深度学习与特征工程
不断更新资源
深度学习、机器学习、数据分析、python
搜索公众号添加: datayx
长按图片,识别二维码,点关注
机器学习算法资源社群
不断上传电子版PDF资料
技术问题求解
QQ群号: 333972581
长按图片,识别二维码
海淘美妆
